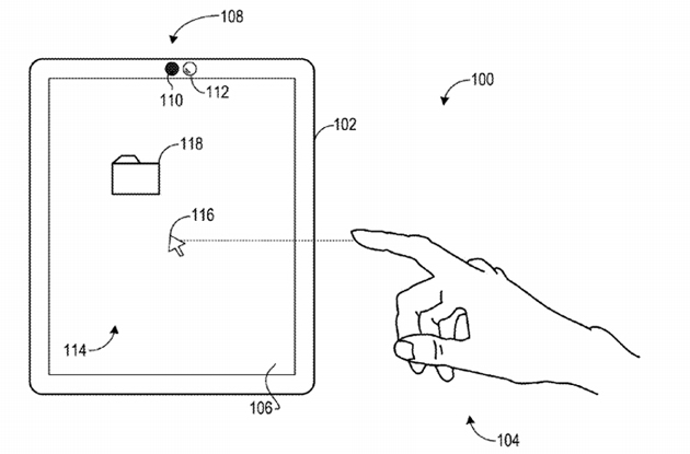
Технология Touchless input позволит управлять планшетом или иным сенсорным устройством, не вступая в прямой контакт с поверхностью экрана. Управление производится по средствам движений пальцев в воздухе на небольшом удалении от экрана.


Надо заметить, что техническая реализация системы бесконтактного ввода завязана на использовании специальных камер со встроенным сенсором глубины. Считанные ими движения будут сопоставляться с заданными инструкциями и применяться на сенсорных устройствах.
Работа по регистрации патента на технологию Touchless input началась еще в 2016 году, однако до конца ее довели только сейчас.
Опубликованных планов о появлении новой технологии на рынке пока нет, но мы будем ждать ее реализации в планшетах нового поколения.
